Tech
Google Removes Option to Book Uber Rides Inside Google Maps
The feature allowing users to book Uber rides through Google Maps was added in January last year, with which users could enter a location, identify their route, check Uber prices and request a ride without leaving the Maps app.
Facebook Announces Digital Literacy Programme For Women in Partnership With NCW
The social media giant entered into a partnership with NCW last month and launched a digital literacy programme to train 60,000 women in universities across the country on the safe use of the internet, social media and email in a year.
Apple Fined $6.6 Million For Misleading Customers
Apple admitted that it refused to repair the devices of at least 275 affected customers in Australia.
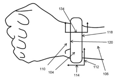
Apple Patents Blood Pressure Monitoring 'Cuff'
The iPhone maker's proposed product would reportedly eliminate the need for cardiac-concerned users to go through other third parties.
Google is Asking For Your Help to Spot Spam in Search
According to Juan Felipe Rincon, Global Search Outreach Lead at Google, the automated Artificial Intelligence (AI)-based systems are constantly working to detect and block spam.
HTC Desire 12 And Desire 12+ to go on Sale From Today: Price, Specifications And More
The new HTC smartphones come with an acrylic glass back surface and boast of sporting the biggest displays to date in the HTC Desire series.
Samsung Galaxy S9 Plus Surpasses iPhone X to Become Best Selling Smartphone
The sales of Galaxy S9 series improved, driven by performance in the APAC and NAM regions, said the latest research from Counterpoint's Market Pulse.
Instagram May Support Long-Form Videos Soon, to Compete With YouTube And Snapchat Discover
The new feature could support videos ranging from five to 15 minutes in length, thus, allowing average users to upload longer videos beyond the current 60-second limit.
MediaTek to Deploy 5G Modem 'Helio M70' in 2019
Helio M70 would be a new "radio modem" for 5G and the upcoming modem would provide a speed of 5Gbps.
WWDC 2018: How to Watch Apple’s Event Live, Expected Launch And More
Users watching the live stream on other devices such as Android, Windows etc will need to use the recent version of Chrome or Firefox to experience good streaming on the devices.
WWDC 2018: Apple iPhone SE 2 With Notch Display Expected to Launch Today: Price, Specs and More
So far there are no confirmations from the company regarding the new device but the internet is flooded with the claimed specifications of the new iPhone SE 2.
Google Won’t Renew Pentagon Contract to Use AI: Report
During a weekly meeting with employees on Friday, Google Cloud chief Diane Greene said that the company was backing away from its AI work with the military.
Will Cooperate if Xiaomi Stops Patent Infringement: Coolpad
The handset maker's subsidiary named Yulong filed a fresh suit which alleged that Xiaomi has infringed upon its patents related to dual-SIM card support and User Interface (UI) design.
Google India Launches 'Neighbourly' App to Solve Local Queries
The app will help you answer queries like finding out which is the safest park for my kids in an area or any affordable Maths private tuition available near me.
Apple May Introduce a Triple-Lens Camera iPhone Soon: Report
According to Taiwanese website Economic Daily News (via MacRumors), citing a research note from Deutsche Securities analyst Jialin Lu, Apple may introduce a triple-lens camera on one or more of its 2019 iPhones.
Indian Companies to Focus More on Cybersecurity: Survey
Indian finance executives are likely to increase spending on travel and entertainment and invest on mobile technology, hardware and infrastructure in 2018, showed the "Global Business and Spending Outlook Survey" commissioned by American Express.